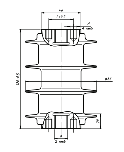
| Наименование изолятора | Верхний фланец | Нижний фланец | ||
|---|---|---|---|---|
| L, мм | d, мм | L, мм | d, мм | |
| ОСК-8-10-А01-1 УХЛ1 | - | 1 отв М16 | - | 1 отв М16 |
| 30 | 2 отв М8 | 30 | 2 отв М8 | |
| ОСК-8-10-А01-1-1 УХЛ1 | - | 1 отв М16 | - | 1 отв М16 |
| ОСК-8-10-А01-2-1 УХЛ1 | - | 1 отв М16 | 30 | 2 отв М8 |
| ОСК-8-10-А01-3-1 УХЛ1 | 30 | 2 отв М8 | 30 | 2 отв М8 |
| ОСК-8-10-А01-4-1 УХЛ1 | - | 1 отв М16 | - | 1 отв М16 |
| 30 | 2 отв М8 | - | - | |
| ОСК-8-10-А01-5-1 УХЛ1 | 23 | 2 отв М10 | 23 | 2 отв М10 |
| ОСК-8-10-А01-6-1 УХЛ1 | - | 1 отв М16 | 23 | 2 отв М10 |
| ОСК-8-10-А01-7-1 УХЛ1 | - | 1 отв М12 | 30 | 2 отв М8 |
| ОСК-8-10-А01-8-1 УХЛ1 | - | 1 отв М12 | - | 1 отв М12 |
| ОСК-8-10-А01-9-1 УХЛ1 | - | 1 отв М10 | 23 | 2 отв М10 |
| ОСК-8-10-А01-10-1 УХЛ1 | - | 1 отв М10 | - | 2 отв М12 |
| ОСК-8-10-А01-11-1 УХЛ1 | - | 1 отв М10 | - | 1 отв М12 |
| ОСК-8-10-А01-001-1 УХЛ1 | - | 1 отв М16 | - | 1 отв М16 |
| 30 | 2 отв М8 | 30 | 2 отв М8 | |
| ОСК-8-10-А01-002-1 УХЛ1 | - | 1 отв М16 | - | 1 отв М16 |
| ОСК-8-10-А01-003-1 УХЛ1 | - | 1 отв М16 | 30 | 2 отв М8 |
| ОСК-8-10-А01-004-1 УХЛ1 | 30 | 2 отв М8 | 30 | 2 отв М8 |
| ОСК-8-10-А01-005-1 УХЛ1 | - | 1 отв М16 | - | 1 отв М16 |
| 30 | 2 отв М8 | - | - | |
| ОСК-8-10-А01-006-1 УХЛ1 | 23 | 2 отв М10 | 23 | 2 отв М10 |
| ОСК-8-10-А01-007-1 УХЛ1 | - | 1 отв М16 | 23 | 2 отв М10 |
| ОСК-8-10-А01-008-1 УХЛ1 | - | 1 отв М12 | 30 | 2 отв М8 |
| ОСК-8-10-А01-009-1 УХЛ1 | - | 1 отв М12 | - | 1 отв М12 |
| ОСК-8-10-А01-010-1 УХЛ1 | - | 1 отв М10 | 23 | 2 отв М10 |
| ОСК-8-10-А01-011-1 УХЛ1 | - | 1 отв М10 | - | 2 отв М12 |
| ОСК-8-10-А01-012-1 УХЛ1 | - | 1 отв М10 | - | 1 отв М12 |
Допускается замена изоляторов: ОСК-8-10-А01-1-1 УХЛ1, ОСК-8-10-А01-2-1 УХЛ1, ОСК-8-10-А01-3-1 УХЛ1 на изолятор ОСК-8-10-А01-1 УХЛ1.
Исполнения с номерами 0** — с немагнитными фланцами.

























