ШОП-П для коробчатых шин на 10 кВ
ШОП-П для коробчатых шин на 10 кВ
ШОП-П для коробчатых шин на 10 кВ
ШОП-П для коробчатых шин на 10 кВ
ШОП-П для коробчатых шин на 10 кВ
ШОП-П для коробчатых шин на 10 кВ
хит продаж

Арт.: 
Полимерная шинная опора для коробчатых шин
Характеристики
 / шт
Экономия 0%
Укажите количество
+
Сумма:
Узнать о поступлении
Запрос коммерческого предложения
Для получения коммерческого предложения, уточнения сроков изготовления и условий поставки вы можете направить запрос специалистам АО «АИЗ»
Наши преимущества
Проектируем и производим продукцию по тех. заданию клиента
Выполняем заказы в сжатые сроки при согласованных условиях
Фиксируем цены и обеспечиваем приоритетное выполнение заказов
Работаем с отсрочкой оплаты на договорных условиях
Технические характеристики
Номининальное напряжение, кВ
10
Наибольшее рабочее напряжение, кВ
12
Испытательное напряжение полного грозового импульса, не менее, кВ
75
50%-ное разрядное напряжение промышленной частоты в загрязненном
и увлажненном состоянии, кВ
13
При удельной поверхностной проводимости слоя загрязнения, мкСм
10
Обозначение продукции
2026-02-25_23-20-47.png
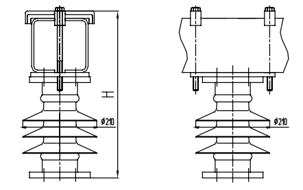
Шинные опоры наружной установки типа ШОП-П предназначены для крепления коробчатых шин жесткой ошиновки напряжением 10, 20, 35 кВ в открытых распределительных устройствах (ОРУ) электрических станций и подстанций. Шинные опоры ШОП-П входят в состав комплексного проекта жесткой ошиновки подстанций.
Марка полимерной шинной опоры
для жесткой ошиновки
Количество / ширина
плоских шин, мм
Строительная высота
H, мм
Рисунок Установочные размеры
нижнего фланца
Вес, кг
не более
ШОП-10-П100-4 УХЛ1 100 412 1 Ø127×4 отв. Ø13 10,60
ШОП-10-П125-4 УХЛ1 125 437 1 Ø127×4 отв. Ø13 10,70
ШОП-10-П150-4 УХЛ1 150 462 1 Ø127×4 отв. Ø13 10,80
ШОП-10-П175-4 УХЛ1 175 487 1 Ø127×4 отв. Ø13 10,95
ШОП-10-П200-4 УХЛ1 200 512 1 Ø127×4 отв. Ø13 11,10
ШОП-10-П225-4 УХЛ1 225 537 1 Ø127×4 отв. Ø13 11,30
ШОП-10-П250-4 УХЛ1 250 562 1 Ø127×4 отв. Ø13 11,50
АО «АИЗ» имеет возможность изготавливать полимерные шинные опоры с нестандартными присоединительными размерами и строительной высотой по пожеланию заказчика.
Примечание
Информация на сайте носит исключительно информационно-рекламный характер и не является публичной офертой.

О нашем заводе
АО «АИЗ» — российский завод-производитель высоковольтных полимерных изоляторов и линейной арматуры с 1999 года. Предприятие располагает собственным конструкторским бюро и полным циклом разработки и производства продукции для объектов электросетевого комплекса.

В числе постоянных заказчиков предприятия топливно-энергетического комплекса, проектные и научные организации, поставщики оборудования, в том числе филиалы ОАО «ФСК ЕЭС», ООО «НПЦ «Энерком-Сервис», ОАО «Кузбассэнерго», ОАО «ТГК-5», ОАО «ТГК13», ЗАО «ЗЭТО», ЗАО ГК «Электрощит-Самара», ООО «Волгоградсетьстрой», ОАО «МРСК Севера-Заnада»,
ОАО «ОГК-2», ЗАО «ЧЭМЗ» и многие другие.
Консультация инженера AO "АИЗ"
Задайте вопрос

Инженеры АО «АИЗ» помогут подобрать изоляторы и комплектующие под конкретные условия эксплуатации и требования проекта.
Проконсультируем по замене изделий, подбору аналогов, нагрузкам, климатическому исполнению и нормативным требованиям.

Консультация проводится на основании технического задания или параметров объекта и не обязывает к заказу
Позвоните нам!
Личный кабинет
Вам будет доступна история заказов, управление рассылками, свои цены и скидки для постоянных клиентов и прочее.
Ваш логин
Ваш пароль
МО, Лыткарино, ул. Парковая 1
По любым вопросам
Московская область, Лыткарино, ул. Парковая 1
Посмотреть на карте